光泽度仪又叫光泽度计,作为精密光学分析仪器,主要用于平面物体表面反射光能力的测量,即镜面光泽度的测量,是一种常用的物体表面物理量分析的光学分析仪器。本文对光泽度仪的工作原理、光路结构和几何角度做了介绍。

光泽度仪的工作原理:
光泽度仪是一种用来衡量物体表面光泽程度的仪器,其工作原理基于光的反射和折射。光泽度仪通过发射光线照射到物体表面,并测量光线被物体表面反射或折射后的特性来评估物体的光泽度。其主要工作原理包括以下几个步骤:
1.光源发射:光泽度仪通常采用白光LED作为光源,这样可以模拟自然光条件下的观察。白光LED会发射出一束均匀且稳定的光线。
2.光线照射:仪器将发出的光线通过光学系统,使其以一定角度照射在待测物体的表面上。光线照射的角度通常为20°、60°和85°,不同角度用于不同的测量需求。
3.光线反射和折射:物体表面的光线会发生反射和折射。其中一部分光线会被物体表面反射回来,而另一部分光线则会进入物体内部并发生折射。光泽度仪会特别检测反射光线的特性来评估物体表面的光泽度。
4.接收光线:光泽度仪会使用光敏器件(如光电二极管)来接收被物体表面反射回来的光线。接收到的光线信号会被转化为电信号进行处理。
5.信号处理:接收到的电信号会被传输到信号处理单元。在信号处理单元中,仪器会进行滤波、放大和数值处理等操作,以得到准确的光泽度数据。
6.光泽度评估:根据接收到的光泽度数据,光泽度仪会根据预设的算法计算得出物体的光泽度值,并显示或输出给用户。这样用户就能直观地了解物体表面的光泽程度。
总之,光泽度仪通过照射物体表面并接收光线的反射信号,经过一系列的光学和电子处理步骤,最终得出物体的光泽度值。它在质量控制、产品开发和研究等方面起着至关重要的作用。
光泽度仪的光路结构:
光泽度计是利用光反射的原理对样品的光泽度进行测量,在规定入射角和规定光束的条件下照射样品,得到镜向反射角方向的光束。用光泽度计测定试样表面反射光通量与入射光通量的比值,即用反射率来评定表面光泽的强弱。光泽度计由光源、透镜、接受器和显示仪表等组成。按光泽度计的照明光束和接收光束分,光泽度计有两类:一类是平行光路,另一类是会聚光路。
按入射角分:有定角式和变角式两种。
从光源发出的光,经过照明透镜正确地照到样品上,由接收透镜在镜面反射方向上将光束送给探测器,将光信号转换成电信号,经放大等处理后输出,完成光泽度的测试。
下图所示为平行光照明的光路图。

下图所示为会聚光照明的光路图。

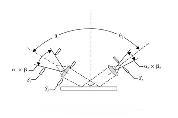
其中:θ1——入射角;θ2——反射角;α1——测量平面(由入射光轴及反射光轴组成的平面)内的入射张角;α2——测量平面内的反射张角;β1——垂直于测量平面的人射张角;β2——垂直于测量平面的反射张角;S1——人射方视场光阑;S2——反射方视场光阑;S3——孔径光阑
探测器通常校正为具有y(λ)光谱响的特性。
光泽度仪的几何角度:
镜向光泽度计的几何条件主要是指入射角的大小,有关测试标准对入射角和接收角及其公差也作了规定。入射角在光泽测量中极为重要,通常用 20°,45°,60°,75°,85°,它们分别用于不同样品的测量。一般来说,大角度用于低光泽样品,小角度用于高光泽样品,中角度使用范围较宽。下表是有关标准推荐的使用举例。


